原告有多个专利!月销10k+的LED便携式补光灯发案!

原告有多个专利!月销10k+的LED便携式补光灯发案!

 侵权关键词:LED便携式补光灯 

起诉时间:2025年11月12日

案件编号:2025-cv-01815

维权类型:外观专利

品牌方:Chaohua Dai

代理律所:Valley & Summit Law

 

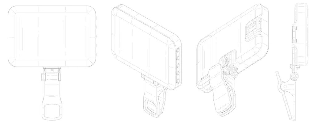
Chaohua Dai是国人卖家,研发了一款便携式LED补光灯,可安装在智能手机、电脑等移动设备上,能提供柔和照明、增强肤色、消除阴影,提升移动照明配件功能性与视觉效果。此灯配备一体式夹子,可夹在台式电脑、记本电脑、平板电脑或智能手机上,既节省空间又提供多种照明选择。 

原告有多个专利!月销10k+的LED便携式补光灯发案!

本案为美国外观专利维权,专利号:US D1035079 S,于2024年7月9日获得美国外观专利认证,卖家选品需注意,避免TRO冻结!

原告有多个专利!月销10k+的LED便携式补光灯发案!
原告有多个专利!月销10k+的LED便携式补光灯发案!

如您不必过于慌张,及时下架并做好应对准备。在收到TRO邮件可立刻委托查分析处理,快至1-2个月可解决,走完全部流程。我们会根据是否构成事实、侵权程度、卖家的所得获利等角度为客户提供最优的解决方案!

「版权提示」:信息来自于互联网,不代表官方立场,内容仅供网友参考学习。如发现本站内容存在版权问题,烦请提供版权疑问、身份证明、版权证明、联系方式等发邮件至 contact@glosellers.com,我们将及时沟通与处理。如若转载请联系原出处。 「注意事项」:锦品出海(含网站、客户端等)所展示的商品/服务的标题、价格、详情等信息内容由实际供应商/服务商提供。如用户对商品/服务的标题、价格、详情等任何信息有任何疑问的,可直接同供应商/服务商沟通确认,其他问题,请向锦品出海客服咨询。因第三方供应商/服务商与用户因服务行为所发生的纠纷由第三方供应商/服务商与该用户自行处理或通过法律途径解决并自行承担法律后果。锦品出海根据用户申请可参与相关协调调解工作,但不对纠纷事项及调解工作承担任何责任。
知产合规

儿童玩具合规要求更新!亚马逊TIC直接验证全面推行!

2025-11-24 11:50:54

知产合规

一声令下!欧盟零毁林法案又延期?

2025-11-25 15:46:37

0 条回复 A文章作者 M管理员
    暂无讨论,说说你的看法吧
个人中心
购物车
优惠劵
今日签到
有新私信 私信列表
搜索